Skip to main content
 

CyManII Projects

To accelerate the development and deployment of these secure innovations, CyManII’s research teams employ IUC projects, pilots, and demonstrations as mechanisms to mature research and to invite industry into the development process as product owners.

cymanii-projects-lg

Each of these IUC partnerships significantly reduce the cycle time between design and deployment, enabling CyManII to rapidly develop the solutions necessary for both SMMs and Original Equipment Manufacturer (OEMs) to integrate fundamental, secure manufacturing technologies into their operations platforms.

In 2023, the U.S Department of Energy, in collaboration with the Cybersecurity Manufacturing Innovation Institute (CyManII), selected 10 projects primed to bolster cybersecurity in the U.S. manufacturing sector.

For a full list of the selected projects, visit energy.gov.

IUC1: Industrial Control Systems
(4 projects)

Cyber vulnerabilities of ICS are increasing, and correspondingly so is the frequency of ICS cyber-attacks. To ensure the cybersecurity of industrial controllers in the field, it is critical to understand, address, and track vulnerabilities and attacks that may emerge during the production value chain.

IUC2: Secure Digitization
(3 projects)

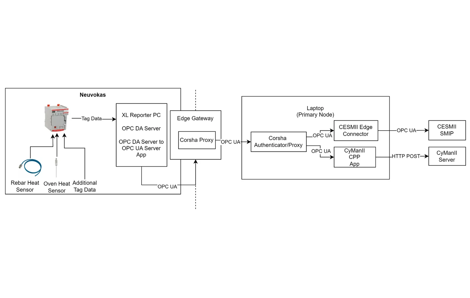
The need to connect manufacturing centers to the internet creates vulnerabilities that can be exploited by bad actors. This project demonstrates the use of Cyber Physical Passports (CPP) to ensure that all manufacturing processes and data are securely documented and available for discovery and mitigation analytics.

IUC3: Industrial Additive Manufacturing (3 projects)

Small and medium additive manufacturing enterprises face challenges with respect to the security of design files and the monitoring of machine critical production parameters.​